根據中國工程建設標準化協會《關于印發 (2019年第一批協會標準制訂、修訂計劃〉的通知》(建標協字[2019]12號)的要求,由河北錐基土木工程有限公司、中國鐵路設計集團有限公司牽頭起草的中國工程建設協會標準《擠排土變徑樁技術規程》在廣泛征求意見的基礎上,己完成送審稿。經研究,定于2022年9月28日在北京市召開(送審稿)審查會。
會議將于9月28日(星期三)上午9:00正式開始,會期一天。會議采用線上線下相結合的方式召開。會議地點:北京市東城區北三環東路36號環球貿易中心D座503會議室。
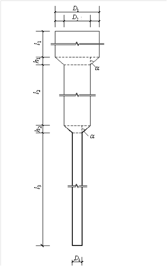
擠排土變徑樁作為一種新樁型,具有豎向抗壓承載力高、沉降小、質量可靠、造價低、可實現單機一體化施工等特點。它是參考已有的倒錐臺階型樁發展而來的。
擠排土變徑樁構造:

D1、D2、D3—自上而下第一、第二、第三段樁身的直徑;
l1、l2、l3—自上而下第一、第二、第三段樁身的長度;
h1、h2—自上而下第一、第二倒圓臺的高度;a—倒圓臺角
擠排土變徑樁結構示意圖
長螺旋鉆孔泵壓混凝土樁工藝多年來應用于工業與民用建筑工程和市政工程項目。擠排土變徑樁工藝采用的鉆具改進了長螺旋鉆孔機械,是一種復合疊加相套鉆具,壓灌混凝土。擠排土變徑樁的樁型和工法作為一種創新先進施工技術,曾在不同行業的工程中得到應用。
擠排土變徑壓灌樁工藝具有因地制宜地擠土、部分擠土和排土的功能,可充分發揮與提高不同土層的承載力。
擠排土變徑樁施工采用全排、全擠及上擠(部分擠)下排復合工法的,鉆孔次序均為由內到外依次鉆進成孔;施工采用上擠下排及上排下擠復合工法的,鉆進成孔次序由上到下依次陸續成孔。疊加復合套筒鉆具依次鉆進至各自設計深度后停鉆,壓灌混凝土開始,邊壓混凝土邊提鉆,提鉆次序中心鉆具→中間套筒鉆具→外套筒鉆具,依次陸續同步提升,中心鉆具底端與中間套筒鉆具底端平齊后,兩鉆具同時同步提升,兩鉆具底端與外套筒鉆具底端平齊后,三鉆具同時同步提升,直到提出孔口標高,同時混凝土壓灌至設計標高。
邊壓混凝土邊提鉆,保持泵速與提鉆速度相匹配,標準為芯管內混凝土面在提鉆壓灌時,始終保持有效高度達到壓灌目的,才能保證樁身內壓力不小于樁孔壁土體壓力,防止樁身縮徑、斷樁等不良現象發生。混凝土壓灌控制,鉆具依次陸續同步提升,壓灌的同時鉆具對孔壁時時有效的支護,避免出現鉆頭“懸空打砼”,由此保障了樁身質量完好。為實現合理控制混凝土施工損耗系數情況下更有效壓灌混凝土,保證樁身質量及施工樁頂標高標準化,建議混凝土壓灌工藝采用芯管內混凝土面高度感應裝置,指導規范施工。
在不同地層擠排土變徑樁打樁壓灌時尤其復雜地層(液化層、流塑—軟塑狀態黏土層、流砂層等),混凝土壓灌工藝采用芯管內混凝土面高度感應裝置應用經驗的積累,在保證樁身質量的前提下盡量節約混凝土用量,制定標準的操作流程,實現自動化與信息化,統一合格標準模式,杜絕靠聲音定位,憑經驗大概、模糊、差不多的操控態度,造成樁身質量參差不齊,混凝土過多浪費。

目前我國正處于國民經濟高速發展時期,工礦企業建設、城市化和基礎建設,在國家政策支持下快速躍進發展,尤其高速鐵路和高速公路建設規模龐大,有很大發展空間。在土木建筑工程項目中,樁基和地基處理工程所占比例較大。與其他樁型相比較,擠排土變徑樁技術在樁基和復合地基中,高承載力、低沉降量、快工效,使經濟、社會效益十分顯著。在地基處理中工程成本能夠降低20%左右;由于施工工法得以完善,松擠密排的土工理念得以實現,密土旋排至松土中被擠壓擠擴,分層消納,因此具有無棄土或少量棄土排放、無建筑揚塵等優點,實現了節能減排、綠色環保的目標。可以預料,這項擠排土變徑樁新技術在擁有全國性技術標準后,可將“擠排土變徑樁”專利技術推廣到一個新的高度和廣度,使此樁型及工法的優點(高質量、高速度、高價值)充分體現出來。該專利技術會推進傳統地基處理技術,閑置陳舊設備改造重新走向工程市場應用,物盡其用,發揮其價值,并能夠為我國在節約工程建設成本、節能減排和綠色環保方面貢獻一份力量。
回到頂部
0371-64038392
QQ客服